Alfacomp
Baixe a folha de dados do produto
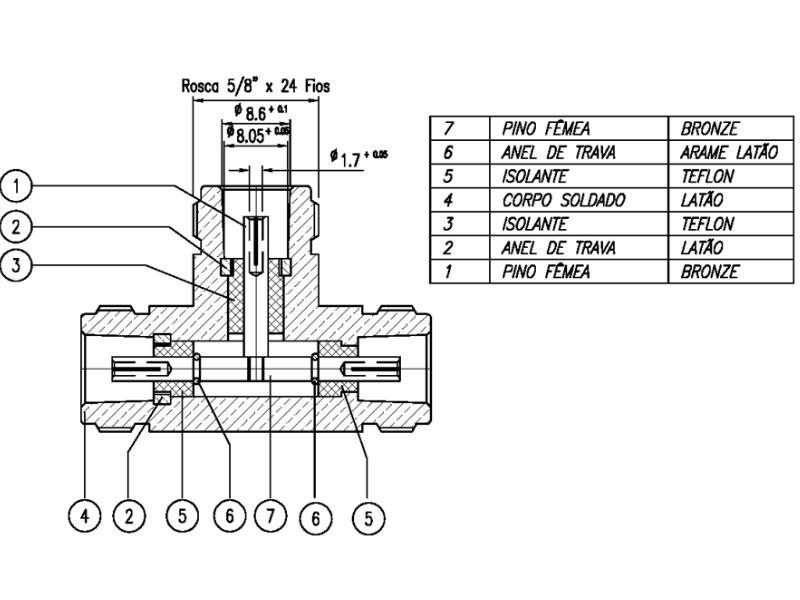
O conector derivador N fêmea CN3205 permite derivar cabos de RF para dividir sinais e interligar antenas em arranjos paralelos. Os conectores da Série N com impedância de 50 Ω são fabricados de acordo as normas IEC 169-16, MIL-C-39012 e MIL-55339. O divisor CN3205 permite interligar antenas em paralelo para formar arranjos do sistema irradiante. São utilizados em antenas, instrumentação, estações de base, celular, rádio de micro-ondas, radar, radiodifusão e redes de computadores.
| Especificação | Detalhe |
|---|---|
| Impedância | 50 Ω |
| Frequência de operação | 0 – 11 GHz |
| Temperatura de operação | -65ºC a 155ºC |
| Tensão máxima de operação | 1400 Volts |
| Tensão máxima de teste | 2500 Volts rms |
| VSWR | ≤ 1,3 até 4 GHz |
| Perda de retorno | 18 dB até 4 GHz |
| Perda de inserção | 0,15 dB até 4 GHz |
| Resistência de isolação | ≥ 5GΩ min |
| Resistência de isolação após conexão | ≥ 200MΩ min |
| Resistência de contato | ≤ 1 mΩ |
Somos referência em automação e controle industrial no Brasil. Atuamos como consultoria de engenharia, fabricantes de soluções próprias e distribuidores exclusivos Haiwell, oferecendo CLPs, IHMs e sistemas completos de automação. Unimos experiência, inovação e proximidade para elevar a eficiência, a segurança e a competitividade das indústrias em todo o país.
Conector derivador N fêmea - CN3205
© Copyright 2026. DIVIA Marketing Digital. Todos os Direitos Reservados

Envie uma avaliação