Alfacomp
Baixe a folha de dados produto
O pressostato é um dispositivo eletromecânico ativo que controla a pressão em um sistema para garantir a segurança e a operação adequada de uma máquina. Os pressostatos funcionam como chaves, abrindo ou fechando um circuito que alimenta um dispositivo, como uma bomba, quando uma determinada pressão é atingida.
Pressostatos eletrônicos são dispositivos que geram sinais on/off e, muitas vezes, também um sinal de saída analógico adicional proporcional à pressão. São programados na fábrica para os pontos de comutação desejados ou apresentam uma interface de programação com display e botões integrados.
EPT4000 - pressostato eletrônico
Características principais do pressostato EPT4000
Aplicações
| Item | Especificações |
|---|---|
| Modelo | EPT4000 |
| Precisão | 0.5% FS em 25°C (Típico) – (Linearidade, histerese e repetibilidade) |
| Temperatura de operação | -20 a +85°C |
| Faixa de temperatura compensada | -10 a +70°C |
| Vibração | 20 g RMS (20 a 2000Hz) |
| Resistência a choque | 100 g (por 10ms) |
| Cíclos de operação | 10×105 |
| Estabilidade ao longo da vida | 0.3% FS (fundo de escala) |
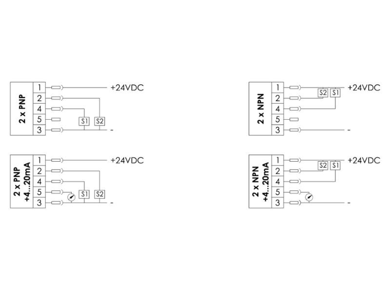
| Sinais de saída digital (S1 e S2) | PNP e NPN, normalmente aberto (NO) ou normalmente fechado (NC) |
| Sinal de saída analógico | 4 a 20mA |
| Corrente de saída de S1 e S2 | Até 500 mA |
| Alimentação | 12 a 30VCC |
| Consumo máximo de corrente | Até 30 mA em 24VCC |
| Tempo de resposta | < 10 ms |
| Queda de tensão | < 1V |
| Carga máxima | < 500 ohm |
| Resistência de isolação | 100 MΩ a 100 VCC |
| Teste de compatibilidade eletromagnética | IEC61000-6-2/IEC61000-6-3 |
| Proteção contra inversão de polaridade | O instrumento não danifica em não opera |
| Corpo do instrumento | Aço inox 304 |
| Diafragma | Aço inox 316L |
| Vedação | NBR ou Viton O-ring |
| Preenchimento interno | Óleo de silicone |
| Proteção | IP66 |
| Peso | 300 gramas sem o cabo |



Formação do código do pressostato eletrônico EPT4000
| Código | Pressão Nominal (bar) - Gauge | Pressão Nominal (bar) - Gauge Selado | Pressão Nominal (bar) - Absoluto |
|---|---|---|---|
| 01 | 0…0.1 | x | |
| 02 | 0…0.2 | x | |
| 03 | 0…0.35 | x | x |
| 04 | 0…0.7 | x | x |
| 05 | 0…1 | x | x |
| 06 | 0…1.6 | x | x |
| 07 | 0…2.5 | x | x |
| 08 | 0…4 | x | x |
| 09 | 0…6 | x | x |
| 10 | 0…10 | x | x |
| 11 | 0…16 | x | x |
| 12 | 0…25 | x | x |
| 13 | 0…40 | x | |
| 14 | 0…60 | x | |
| 15 | 0…100 | x | |
| 16 | 0…160 | x | |
| 17 | 0…250 | x | |
| 18 | 0…400 | x | |
| 19 | 0…600 | x | |
| 20 | -0.1…+0.1 | x | |
| 21 | -0.2…+0.2 | x | |
| 22 | -0.5…+0.5 | x | |
| 23 | -1…0 | x | |
| 24 | 0…-1 | x | |
| 25 | -1…+1 | x | |
| 26 | -1…+1.6 | x | |
| 27 | -1…+2.5 | x | |
| 28 | -1…+4 | x | |
| 29 | 1…+6 | x | |
| 30 | -1…+9 | x | |
| 31 | -1…+10 | x | |
| 32 | -1…+16 | x | |
| 33 | -1…+25 | x | |
| 34 | 0.8…2 | x | x |
| Item | Especificações |
|---|---|
| Faixa | Código |
| Tipo | · G – Gauge · A – Absoluto |
| Saída digital | · PNP · NPN |
| Saídas | · S1 – 1 x saída digital · S2 – 2 x saída digital · S3 – saída analógica · S4 – 1 x saída digital + 1 saída analógica · S5 – 2 x saídas digitais + 1 saída analógica |
| Conexão de pressão | · 01 G¼ macho · 02 G½ macho · 03 Tri-Clamp 1-½” · 04 Tri-Clamp 2” · 05 G½ Flush · 06 ½ NPT Flush · 07 M20x1.5 Flush · 99 sob encomenda |
| Conexão elétrica | · E1 – M12-5 pinos conector/cable L=2m · E2 – M12-5 pinos conector/cable L=5m · E3 – M12-5 pinos conector/cable L=10m |

Somos referência em automação e controle industrial no Brasil. Atuamos como consultoria de engenharia, fabricantes de soluções próprias e distribuidores exclusivos Haiwell, oferecendo CLPs, IHMs e sistemas completos de automação. Unimos experiência, inovação e proximidade para elevar a eficiência, a segurança e a competitividade das indústrias em todo o país.
Pressostato eletrônico ajustável - EPT4000
© Copyright 2026. DIVIA Marketing Digital. Todos os Direitos Reservados

Envie uma avaliação